- المصدر: اقتصاد مال و اعمال السوريين
- 20698 قراءة
شاب سوري يبتكر نظارة لـ"غض البصر" في تركيا
منذ طفولته كان الشاب "بلال ظريفة" من الأطفال الذين يطلقون العنان لخيالهم وفكرهم، وفي حديقة منزله بحي الميدان الدمشقي كثيراً ما كان يقوم بالعبث بالأشياء المنزلية ليصنع منها ما هو مختلف عما كانت عليه بصورة مفيدة وفعالة. وعندما كبر توصل ظريفة إلى ابتكار نظارة غريبة تساعد الشباب المسلمين على غض البصر عن النساء بشكل عام وذلك من خلال تغطية شكل الجنس الآخر لدى ظهوره في مساحة الرؤية أمام العين مباشرة، وما دفعه إلى هذا الابتكار كما يقول لـ"اقتصاد" نشأته ضمن عائلة سورية محافظة ربته على "أحسن وجه وأفضل صورة، حوت التكامل من كافة الجهات العلمية والعملية".
بعد إتمامه البكالوريا شاءت الأقدار أن ينتقل بلال مواليد 1997 إلى مدينة اسطنبول التركية ليبدأ حياة جديدة محفوفة بالتعب والبعد عن الأهل والوطن وهناك-كما يقول- بدأ بالتأقلم مع مجتمع وثقافة جديدة وبعد اتقانه للغة التركية تمكن من تحقيق حلمه بدراسة فرع هندسة الكهرباء والإلكترون في جامعة صقاريا بالمدينة المعروفة باسمها.
وأشار محدثنا إلى أن عشق الكهرباء والتقنيات رافقه منذ الصغر إذ طالما كان مولعاً بإصلاح الآلات الكهربائية في منزل أهله ولدى أقاربه، وكان يردد على مسامع من يسأله كيف يصلح أعطال الكهرباء "عليك أن تمشي مع التيار وهو بدوره سيخبرك أين العطل الحقيقي".
![]() |

آمن بلال بضرورة الاحتفاظ بأي فكرة مثمرة على مذكرة هاتفه في حال لم يجد وسائل تخدم فكرته وأن يتجه نحو التعلم والتطور الذاتي ريثما تأتي الفرصة ويقوم باستغلالها بطريقة صحيحة، وروى محدثنا أنه التحق بدورة للاختراع والتطوير في جامعة صقاريا بإشراف المدرس "صلاح الدين القصار" وكان على كل طالب أن يخرج بفكرة ويضع وسائل لتطبيقها، وفي خضم الأفكار التي كان قد احتفظ بها على ذاكرة جواله أطلع مدرسه القصار على فكرته "نظارة غض البصر" فشجعه عليها وقام بتحديد الأهداف والعمل والبحث عن الطرق الممكن تحقيقها لتحقيق الاختراع وإظهاره للواقع.
ولفت المخترع الشاب إلى أن دافعه لهذه الفكرة هو اختلاطه بكثير من شباب المهجر والمغترب وغالباً ما كان الحديث يدور من باب الطرافة والمزاح حول موضوع النساء وجمالهن وانتشارهن وأزيائهن وألبستهن الفاضحة التي يلبسنها في الجامعات والمراكز التجارية والأسواق والطرقات تعبيراً عن الحرية بشكل عام وذلك مما يضع الفئة الذكورية المسلمة-كما يقول- في حالة حرجة أمر ربهم في القرآن الكريم "قل للمؤمنين يغضوا من أبصارهم"، وكما هو الحال أيضاً بالنسبة للفتيات، واستدرك المخترع القادم من دمشق أنه لا يختلف مع مبدأ أن للإنسان الحرية في أن يطلق نظره كما أراد وفي أي وجهة هو موليها، ولكن إذا أراد أن يضع حدوداً لهذه الحرية ويعجز عن ذلك فنظارة غض البصر تساعده لافتاً إلى أن اختلاط أو تشابك الأمر المعنوي بالشيء المادي يزيد القدرة ويعطي العزيمة على أي فعل يعزم هو على فعله.

واستدرك الشاب العشريني أن الإنسان إذا أراد النجاح لنفسه فعليه أن يساعد الآخرين على النجاح لأنهم هم الذين يرتقون به إلى القمة. وأردف أن "جعل عملية غض البصر تلقائية لا تكلف فيها يخدم ضمان استمراريتها للمستخدم اضافة إلى مساعدة الشباب المسلم على غض البصر لمنع تحريك شهواتهم تجاه الجنس الآخر وبذلك تقليص الفواحش في العالم". وأضاف أن "استخدام النظارة المبتكرة تساعد على عملية غض البصر التلقائي دون تكلف ومن غير التأثير على ممارستهم في حياتهم اليومية، ومن الممكن أن يتأقلم مستخدم هذه النظارة بشكل سريع معها حيث أنه يملك حرية استخدامها في الأماكن التي يريدها دون أن يسبب الضرر لنفسه أو للآخرين".
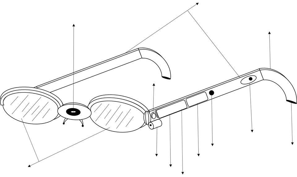
ويشرح ظريفة فكرة اختراعه وآلية عمله فبعد تشغيل النظارة يرى مستخدمها الواقع أمامه بصورته الطبيعية وفي حال ظهور أحد من الجنس الآخر أمامه وفق "عدد محدد" ضمن مسافة العمل يقوم المعالج من خلال نظام متواصل بإعطاء أمر سريع بتظليل أو تغبيش انطباع شكل الطرف الآخر على العدسة بحيث لا يعيق الرؤية حول ذلك الشكل وتستمر هذه العملية باستمرار وجود الجسم الآخر ضمن مسافة العمل.
![]() |

وأبان محدثنا أنه في حال كانت المساحة خالية فإنها لا تقوم بوظيفتها، كما يمكن من خلال كبسة زر موجودة على جانب النظارة ألا تُنفّذ وظيفة النظارة على ذلك الوجه، كوجه "الزوج . زملاء العمل. زملاء الدراسة. أقارب"، أي الأشخاص الذين تجمع المستخدم بهم أمور يومية.
ولفت المخترع الدمشقي إلى أنه تقدم باختراعه إلى برنامج "نجوم العلوم" في موسمه العاشر 2018 الذي تم إطلاقه بمبادرة من مؤسسة قطر للتربية والعلوم وتنمية المجتمع، بهدف دعم وتشجيع رواد الأعمال الطموحين في المنطقة، وسافر إلى لبنان ليعرض الفكرة، واجتمع–كما يروي- بثلة من الأشخاص المهتمين بالاختراع وكان أصغرهم عمراً ومعرفة، مضيفاً أن اختراعه نظارة "غض البصر" تم قبوله لدى مؤسسة براءات الاختراع التركية، وسيرى النور قريباً بانتظار صدور البراءة.
![]() |






